EVを支える高性能モータの高速・高精度プレス加工技術の開発
はじめに
当社では、地球温暖化に代表される環境問題への取り組みや、交通事故ゼロの安心安全な社会の実現に向けて、
電動化や自動運転に使われるEV 用高性能ブラシレスモータのプレス部品開発を進めております。
近年、搭載される製品が拡大する中で従来の小型モータと比較した際に、以下の課題に直面しました。
1. 積層コア部品が高出力で大型化するため、プレス機械も大型化し、加工速度の低下を招き、生産性の悪化が懸念される
2. ブラシレスモータでの高効率巻き線や永久磁石を固定するため、新たな高精度プレス2 部品が必要となる
この高速・高精度の課題を解決するため、プレス加工技術の開発に取り組みました。
1. 高速プレス加工技術の開発
ループコントロール技術
材料バタツキによる中間搬送での送りミスを防止する。
時間差抜き技術
高速加工でもスクイズかしめが成立する。
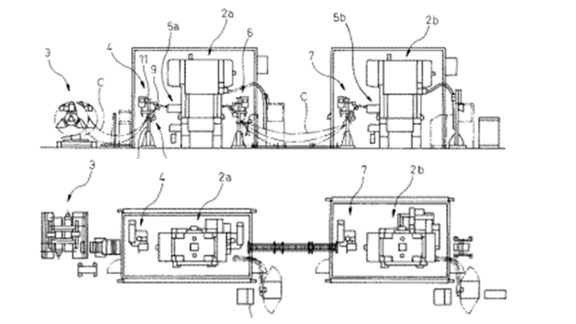
順送タンデム高速プレス一貫ライン
小型順送プレス機械を2台直列配置(タンデム)し、荷重の分散化を実施。
ループコントロール技術、時間差抜き技術などの主要技術によって
2倍の加工速度を初めて実現。
後工程も直結することで省面積1/2、省人1/3での一貫ライン量産化に成功した。
2. 高精度プレス2部品の開発
高効率巻き線での部材を固定する高精度絞り部品の開発
精度劣化をもたらす不均一な応力を低減するため、外周溝付け加工法を考案した。
従来の20%しごきに対して精度が3 倍向上し、トランスファプレスで無切削化を実現した。
永久磁石を固定する厚板ステンレス鋼部品の開発
抜きで外径に発生する異常せん断バリを、考案した押込みせん断加工法で大幅抑制し、
順送プレスで無切削化を実現した。
開発技術の効果と事業化
-
従来の加工方法に比べ加工コストを大幅に低減
-
工場で排出される二酸化炭素を合計で△22.4ton-CO2/月削減
-
いずれの部品も生産を開始し、量産車両に搭載済み
-
開発した技術は電動化・自動運転に必要な高性能センサへも適用拡大中
おわりに
この度、開発した技術が認められ、令和6年度 第40回素形材産業技術賞「経済産業省製造産業局長賞」(※)を受賞いたしました。
今後も引き続き、環境問題への取り組みや、交通事故ゼロの安心安全な社会の実現に向けて、技術開発を進めてまいります。
※一般財団法人素形材センターの表彰制度で、優秀な素形材産業技術の開発により、日本の素形材産業の技術水準の進歩向上に著しく貢献した技術の開発者を表彰するもの
